Location -> Products -> Level -> Level Switch
Type:CX-FLM-UQK-01,02,03 float level controller
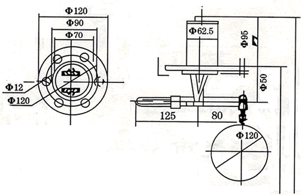
Illustrate:Float level controller is consist of float assembly, range switch block and housing. A pair of magnetic steel installs at float end and range switch block separately.
Float level controller
1.Main parameters :
2. Structure principle
Float level controller is consist of float assembly, range switch block and housing. A pair of magnetic steel
installs at float end and range switch block separately.
When the float change up and down with the change of level in the limit of movement, the magnetic steel
will move up and down accordingly. Push the magnetic steel of range switch block move via non-magnetic housing. To make the output contact connects of off. Control backward signal device send out
light or sound signal. When level go up and down, only when it within up and low limit of movement,
output contact can connect or off, and there are no signal send out.
The float of controller and flange is made of SS304, common junction box is SS304, for explosion proof type,
the junction box is aluminium. The float assembly of controller and range switch block are isolated, to avoid
leakage and other defect.

1.Main parameters :
| Type |
Protection class |
Medium pressure |
Medium temperature (℃) |
Net weight |
Switch difference (mm) |
Tuning method |
Installation type |
Power and contact capacity and working life |
| CX-FLM-UQK-01 | dIIBT4 | 1.0 MPa |
Normal:≤100℃ High-tem:≤350℃ |
1.5~2.0Kg | ≤8 |
Not adjustable |
Horizontal |
AC:220V/1.5A 110V/2.5A DC:24V/2.5A 240V/0.5A Working life: 5×100^2 |
| CX-FLM-UQK-02 | dIIBT4 | 1.0 MPa | 25~550 |
Class adjustable |
Horizontal | |||
| CX-FLM-UQK-03 | dIIBT4 | 1.0 MPa | 8~1000 |
No-class adjustable |
Vertical |
2. Structure principle
Float level controller is consist of float assembly, range switch block and housing. A pair of magnetic steel
installs at float end and range switch block separately.
When the float change up and down with the change of level in the limit of movement, the magnetic steel
will move up and down accordingly. Push the magnetic steel of range switch block move via non-magnetic housing. To make the output contact connects of off. Control backward signal device send out
light or sound signal. When level go up and down, only when it within up and low limit of movement,
output contact can connect or off, and there are no signal send out.
The float of controller and flange is made of SS304, common junction box is SS304, for explosion proof type,
the junction box is aluminium. The float assembly of controller and range switch block are isolated, to avoid
leakage and other defect.

Last:CX-FLM-UQK-12 series float leve.. Next:CX-FLM-UQK-01 float level contr..











